現時不少智能手機都具備一定防水功能,而將來 iPhone 或同樣可以做到!因為據知 Apple 早於去年就申請了一項電子零件防水技術的專利,而有關專利文件日前終於正式曝光,相信這種防水技術或會應用在下一代 iPhone 或其他產品之上。
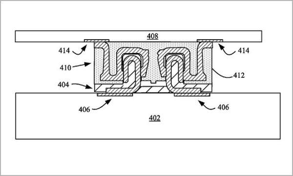
據 AppleInsider 報導,Apple 申請的這款防水技術與傳統覆蓋整個裝置的防水方法有所不同,因為他們將會利用一種名為等離子輔助化學氣相沉積(PACVD)的技術,將一層防水薄膜鍍鍍在內部的零件之上,而根據零件的大細,薄膜的厚度將介乎 1 至 10 微米之間,除可為零件提供防水功能外,亦不會影響到其正常運作。
除此之外,零件與零件之間的接駁位,以及裝置上的各個插口位等,則會透過矽膠密封以達到完全防水的功能。據知這種從零件方面入手的防水技術,最大的好處是不會影響到裝置的外觀,因此即使將來 Apple 應用在 iPhone 等產品之上時,亦不會對其外觀設計構成任何影響。
來源:AppleInsider




