據外媒報導,Apple 正在積極開發摺疊式 iPhone,並計劃於明年第三季度正式推出。據悉這款摺疊手機的顯示熒幕將由 Samsung 提供,預計熒幕出貨量為 1600 萬至 2200 萬,而 Apple 也已申請了相關的摺疊式 iPhone 專利。

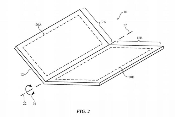
▲Apple 申請的相關專利,圖片來源:CNET
自摺疊手機問世以來,顯示熒幕中間常會出現明顯的摺痕,儘管最近 Samsdung Galaxy Z Fold 6 和 Galaxy Z Flip 6 有所改進,但目前仍然未能完全解決這個問題。據報摺疊式 iPhone 外觀將如 Galaxy Z Flip 相近,而根據《CNET》報道, Apple 正在積極尋求技術突破,以解決顯示熒幕摺痕問題,期望提供更完美的顯示效果。
若 Apple 能夠突破技術難關,將有望與 Samsung 等競爭對手一較高下。由於摺疊顯示熒幕成本較高,預計 Apple 摺疊手機的售價亦會相應提高。市場上對摺疊手機的需求逐步增長,而隨著技術的成熟,未來幾年內摺疊手機將可能成為主流。Apple 作為全球最具影響力的科技企業,其推出摺疊手機將對市場產生深遠影響。
圖片、資料來源:CNET
======
加入 unwire thread 傾傾科技背後黑暗事
========
